
Nintendo запатентовала «рыболовную катушку» и «колёсико» для Switch 2
Подсекай, подсекай!
В сети нашли два новых патента Nintendo — один страннее другого.
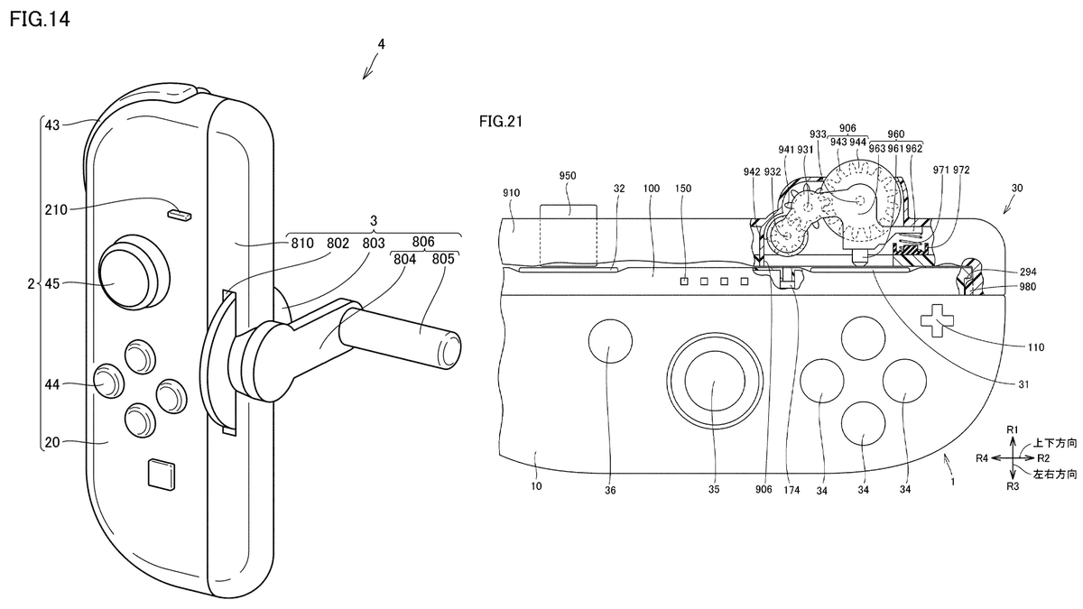
Изображение прототипа в первом патенте напоминает «крутилку» Playdate или «рыболовную катушку».
Второй патент описывает нажимаемое колёсико, которое крепится к джой-кону с помощью магнита и напоминает аналогичный элемент у обычной компьютерной мыши.
В сети предполагают, что аксессуары (если они доживут до полноценного «релиза») можно будет использовать в играх про рыбалку, портах с Playdate и классических аркадах.
Ждём новую часть Mario про суровую грибную рыбалку на речке с мужиками.







Нет комментариев